知识资讯  > 知识学习

公司资讯 行业资讯 知识学习
2024优惠活动:迷你版1880元,KIS软件5折,金蝶云6折起!

V6.0账无忧现金流量表的本月没有数据的怎么处理呢

售后技术专线:4006-6500-28

新购有特价、金蝶老客户升级金蝶云产品可以享受5折优惠,送手机、送话费,好礼不断!

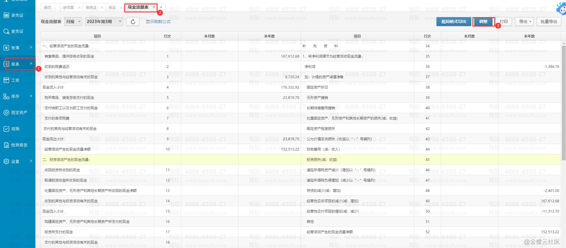
【问题现象】

查询现金流量表时发现本月的全部数据为空,怎么办?




【操作流程】:

第一步:点击右上角的【调整】按钮




第二步:

进入【调整辅助核算数据项】页面,进行【清空并重算】→【保存】→【下一步】操作。


0109780031c0fac04247b488a60969f27550.png


第三步:

回到【调整现金流量表】页面,进行【清理并重算】→【保存】即可。





X金蝶软件公司_金蝶软件技术服务公司

截屏,微信识别二维码

客服QQ:1250556403

(点击QQ号复制,添加好友)

微信号已复制,请打开微信添加咨询详情!