知识资讯  > 知识学习

公司资讯 行业资讯 知识学习
2024优惠活动:迷你版1880元,KIS软件5折,金蝶云6折起!

云进销存盘点表如何导出?(导出系统库存)

售后技术专线:4006-6500-28

新购有特价、金蝶老客户升级金蝶云产品可以享受5折优惠,送手机、送话费,好礼不断!

【问题描述】

盘点表如何导出?(导出系统库存)

盘点记录如何导出?


【操作流程】

1、导出盘点表(导出系统库存)

仅导出系统库存为EXCLE文件格式,盘点库存栏为空;导出至本地后,在EXCEL文件手工录入盘点为存后,再导入盘点库存。

打开【仓库】-【盘点】,按实际业务情况筛选查询盘点表,然后再点击右上角【导出系统库存】导出系统库存。

导出结果:


2、导出盘点记录

已在系统中录入盘点库存并生成盘点记录,需导出带有盘点库存数的盘点表。

①打开【仓库】-【盘点】,已在“盘点库存”中录入盘点数量,并【保存盘点结果】生成盘点记录,可点击右上角【导出系统库存】导出。

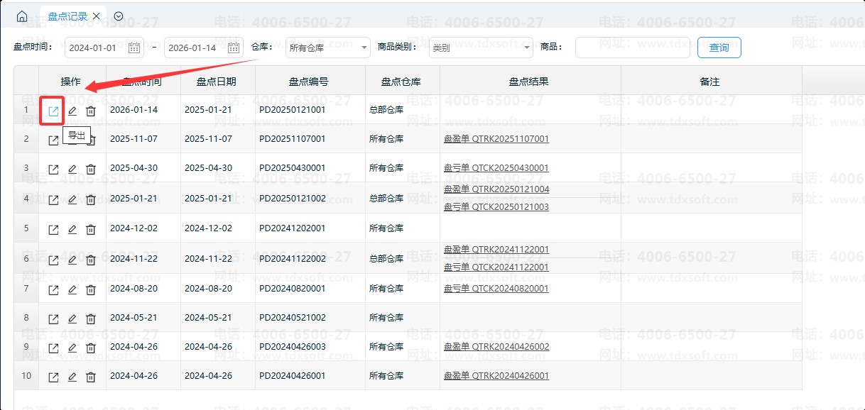
②或是打开【仓库】-【盘点记录】,点击下载按钮,直接下载盘点记录。


导出结果:

X金蝶软件公司_金蝶软件技术服务公司

截屏,微信识别二维码

客服QQ:1250556403

(点击QQ号复制,添加好友)

微信号已复制,请打开微信添加咨询详情!