售后技术专线:4006-6500-28
新购有特价、金蝶老客户升级金蝶云产品可以享受5折优惠,送手机、送话费,好礼不断!
【业务场景】
如何查询企业现金、银行等账户的资金流水?
【名词解释】
现金银行报表:用于查询各银行账户及现金的收入、支出及结余情况,可以按客户、供应商、结算账户、收付款人等条件查询。可查询一定期间内,各个账户金额收支以及结余金额的来龙去脉。
若需要查询资金的收入及支出的详细情况建议查询现金银行报表。
【操作流程】
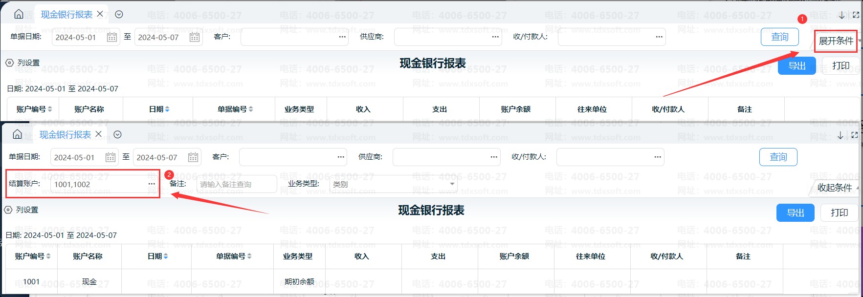
1、依次点击【资金】-【现金银行报表】,打开现金银行报表查询界面,先设置筛选条件后点击【查询】,即可查询到筛选范围内的资金的收入及支出的详细情况。
①支持单据日期、客户、供应商、收/付款人和结算账户等信息筛选查询。
例如:按“结算账户”查询,点击【结算账户】选择需要查询的账户,然后点击【查询】。
说明:支持同时选择多个账户查询,或是指定某个账户查询;若结算账户为空,则默认查询所有账户的明细。
注意:若表头没有【结算账户】选项,请点击【展开条件】,展示所有查询条件,再进行操作。
②支持按单据的业务类型查询筛选。如“普通销售”即现收的销货单,“收款”即收款单,“其他收入单”即现收的其他收入单等。
③“期初余额” 指截止到查询设定的 “开始日期” 前,对应账户的结余金额。
例如:若当前查询的 “开始日期” 为2024年11月01日,那么 “银行存款” 账户的期初余额,就是2024年10月31日该账户的结余金额。
如图:
④购货退货并同步退款时,以支出负数体现;销货退货并同步退款时,以收入负数体现。如图所示:
2、目前现金银行报表可以按【账户编号】进行升序降序。默认按该账户名下的单据的日期先后顺序,自动排序。
3、现金银行报表也支持导出及打印,直接点击右上角【导出】、【打印】按钮即可。
截屏,微信识别二维码
客服QQ:1250556403
(点击QQ号复制,添加好友)