知识资讯  > 知识学习

公司资讯 行业资讯 知识学习
2024优惠活动:迷你版1880元,KIS软件5折,金蝶云6折起!

精斗云云进销存订单锁定与解锁是什么意思

售后技术专线:4006-6500-28

新购有特价、金蝶老客户升级金蝶云产品可以享受5折优惠,送手机、送话费,好礼不断!

【问题描述】

订单锁定与解锁是什么意思?


【解释说明】

1、订单锁定:销售的订单优先出库,占用库存; 如:如有两个订单,一个订单锁定了,一个订单未锁定,那么在生成销售单时,锁定的订单就会占用库存,保证它可以生成销售出库单(前提:勾选了负库存检查)

2、订单解锁:将锁定的订单进行解锁,取消其优先出库(不再占用库存)的权力。

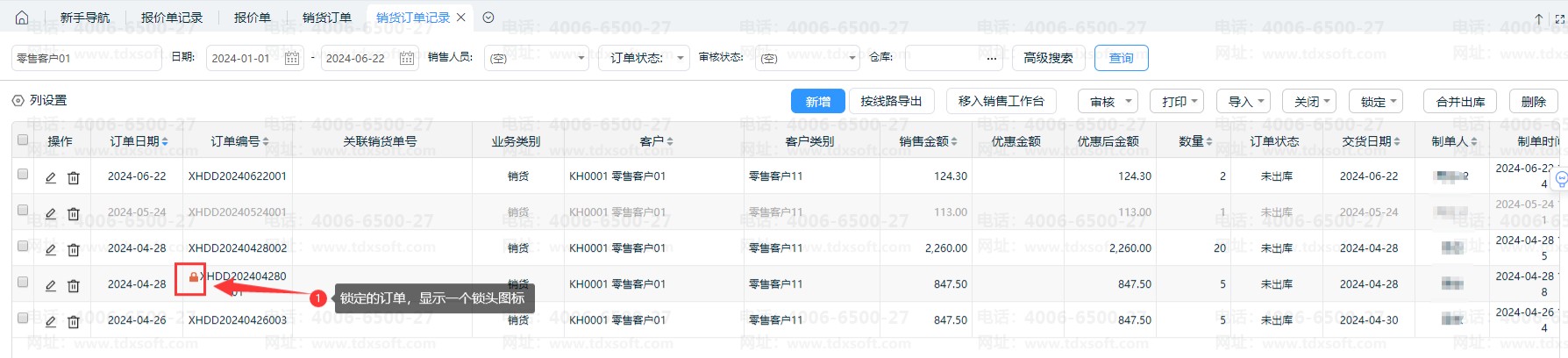
在单据列表,点击右上角【锁定】,订单被锁定状态:


锁定的数量会影响可用库存:




订单列表,点击【锁定】下拉箭头,然后点击【解锁】解除锁定:


X金蝶软件公司_金蝶软件技术服务公司

截屏,微信识别二维码

客服QQ:1250556403

(点击QQ号复制,添加好友)

微信号已复制,请打开微信添加咨询详情!