售后技术专线:4006-6500-28
新购有特价、金蝶老客户升级金蝶云产品可以享受5折优惠,送手机、送话费,好礼不断!
【问题描述】
导入进销存余额到财务初始余额,如何操作?
【解释说明】
进销存关联云会计后,应收账款、应付账款、库存商品科目分别启用客户、供应商、商品的辅助核算,可以将进销存的明细余额导入到云会计
【操作指引】
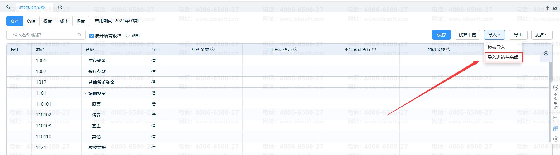
云会计点击【设置】-【财务初始余额】,点击右上角<导入>按钮,选择“导入进销存余额”
导入的界面可以选择日期导入进销存的期初余额 以及可以自己选择是导入客户,供应商 还是商品的期初 可以供用户自己选择。
建议分项导入,比如先导库存商品科目,设置一下导入的进销存入账的科目
然后点击一下导入预览,确认无误后点击<导入>即可
注:科目需设置辅助核算,如设置的明细科目,不支持批量导入明细的初始余额
应收账款和应付账款同理,选择对应的科目导入即可
截屏,微信识别二维码
客服QQ:1250556403
(点击QQ号复制,添加好友)